
SHURFLO 9325-083-101
- Categorie : Submersible solar pumps
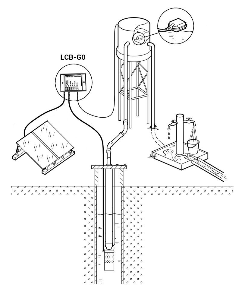
Solar‐powered submersible pump
Suitable
for wells with a 4 inch diameter or larger.
Designed to be strong and yet lightweight.
Wide‐range of parts and kits for ease of
rebuilding and repair.
Corrosion‐proof housing with stainless‐steel fasteners
Dry Running capability without pump damage
9325
Hmt max:
70m |
LCB-G0
24V |
LCB-G75
12/24V |
Solar
pumping systems for reliable Water Supply in Africa
|